Chậu trồng cây thích hợp cho cấp nước tự động
Số bằng: 1-0019722. Ngày cấp: 30/7/2018. Các tác giả và chủ bằng: Phan Thành Công và Phan Tuấn Thành. Địa chỉ: 1A- 26(11/21) Nguyễn Thái Sơn, phường 3, quận Gò Vấp, TP.HCM
Tóm tắt: loại chậu trồng cây mới chuyên dùng, cấp nước (hay dung dịch dinh dưỡng) hoàn toàn tự động. Chậu gồm các bộ phận: thân chậu (1) có ba lỗ ở bên hông, một lỗ gắn ống (6) để cung cấp nước. Một lỗ (3) để nước chảy tràn khi cần thiết. Một lỗ gắn nối chữ L (9) và ống (10) để xác định mức nước trong chậu. Tấm chặn (5) nằm cách đáy chậu 30-40 mm, ở giữa có một lỗ (7) gắn ống chặn (8). Cụm hai chi tiết này giúp giá thể và rễ cây không gây tắc đường dẫn nước vào. Giá thể (4) là cát, đất làm giá thể dẫn nước và là nơi chứa bộ rễ của cây trong phần ngập nước. Giá thể (2) là hỗn hợp 70-90% (tính theo thể tích) đá, sỏi và 10-30% đất, cát làm giá thể trồng cây và là nơi chứa bộ rễ của cây ở phần trên cạn. Nhờ có cấu tạo này, chậu thích hợp để trồng cây trong điều kiện nước hay dung dịch dinh dưỡng được tự động cung cấp đến.
Hệ thống xử lý plasma và phương pháp xử lý nước uống bằng hệ thống xử lý plasma
Số bằng: 1-0019727. Ngày cấp: 01/08/2018. Tác giả và chủ bằng: Trần Ngọc Đảm. Địa chỉ: Phòng E301, tòa nhà Trung tâm công nghệ cao, số 1 Võ Văn Ngân, Linh Chiểu, TP.HCM.
Tóm tắt: hệ thống xử lý plasma bao gồm nguồn nước (1), bộ lọc thô (2), bồn điều áp (3), van tiết lưu Q2 được đặt sau bồn điều áp (3) để điều chỉnh lưu lượng và áp suất vào buồng xử lý plasma (4), mạch điều khiển dòng plasma (5), bộ điều khiển lập trình tự động (6) và bồn chứa nước sạch (7), bồn chứa nước tràn về (8). Nguồn nước, bộ lọc thô, buồng điềuáp, buồng xử lý plasma, bồn chứa nước sạch và bồn chứa nước tràn về được nối với nhau bằng các ống dẫn. Phương pháp xử lý nước đạt tiêu chuẩn nước uống đóng chai bằng hệ thống xử lý plasma cũng được đề xuất.
Tấm cốp pha có tấm ván phủ kín bề mặt thi công
Số bằng: 1-0019745. Ngày cấp: 01/08/2018. Tác giả: Nguyễn Phú Vinh. Chủ bằng: Công ty TNHH Cơ khí Phú Vinh Địa chỉ: Số 6, đường Song Hành, khu công nghiệp Tân Tạo, phường Tân Tạo A, quận Bình Tân, TP.HCM.
Tóm tắt: ttấm cốp-pha nhựa có bề mặt và các thành bên, cách rãnh liên kết được tạo phương thẳng đứng nối thông bề mặt và các thành bên của tấm cốp-pha. Các rãnh định vị được tạo xuyên qua các thành bên, trong đó mặt cắt ngang của rãnh liên kết bị hẹp lại ở phía gần thành bên. Khối liên kết bao gồm khối đỡ và thanh liên kết, được gắn với khối đỡ ở một phía theo phương thẳng đứng. Trong đó, thanh liên kết có mặt cắt ngang sao cho thanh liên kết này có thể lắp khớp với rãnh liên kết của tấm cốp-pha nhựa. Khối đỡ tiếp giáp với thành bên của tấm cốp-pha nhựa và bề mặt của khối đỡ song song với bề mặt tấm cốp-pha để tiếp nhận tấm ván. Các chốt đỡ có phần thân và phần đầu. Trong đó, phần thân được lắp vào các rãnh định vị, phần đầu tiếp nhận tấm ván.
Tấm cốp-pha có bề mặt tháo lắp được
Số bằng: 1-0019746. Ngày cấp: 01/08/2018. Tác giả: Nguyễn Phú Vinh. Chủ bằng: Công ty TNHH Cơ khí Phú Vinh Địa chỉ: Số 6, đường Song Hành, khu công nghiệp Tân Tạo, phường Tân Tạo A, quận Bình Tân, TP.HCM.
Tóm tắt: tấm cốp-pha nhựa có bề mặt tháo lắp được để thay thế khi cần thiết, gồm: bề mặt đỡ (1); khung chịu lực (2) nằm dưới bề mặt đỡ. Tấm bề mặt tháo lắp được (3) nằm trên bề mặt đỡ. Trong đó, bề mặt đỡ và tấm bề mặt tháo lắp được có các lỗ đồng tâm. Thành bên của khung chịu lực có rãnh (23) nằm dưới bề mặt đỡ (1); đệm (5) có lỗ thẳng hàng với các lỗ (11; 31) ở trạng thái lắp vào rãnh; chi tiết liên kết (4) lắp xuyên qua các lỗ của tấm bề mặt tháo lắp được, của bề mặt đỡ và của đệm.
Quy trình crackinh nhựa thải bằng phương pháp crackinh nhiệt và crackinh xúc tác sử dụng chất xúc tác FCC thải từ các nhà máy lọc dầu
Số bằng: 1-0019817. Ngày cấp: 14/08/2018. Tác giả: Đặng Thanh Tùng, Nguyễn Thị Lê Nhơn và Trần Văn Trí. Chủ bằng: Trung tâm Nghiên cứu và Phát triển chế biến dầu khí (PVPro). Địa chỉ: Số 4 Nguyễn Thông, phường 7, quận 3, TP.HCM.
Tóm tắt: quy trình crackinh nhựa thải bằng chất xúc tác FCC thải từ nhà máy lọc dầu, trong đó nhựa thải được crackinh nhiệt sơ bộ để giảm độ nhớt, sau đó tiến hành crackinh xúc tác. Nhờ vậy, giảm được các hiện tượng bít tắc chất xúc tác và hiện tượng cốc hóa trên bề mặt chất xúc tác gây ra bởi các phân tử polyme lớn. Ngoài ra, bằng cách crackinh xúc tác, hiệu suất thu hồi các phân đoạn lỏng được tăng lên. Đồng thời, quy trình theo sáng chế cũng tận dụng được một lượng lớn chất xúc tác FCC thải từ các nhà máy lọc dầu, giảm chi phí sản xuất.
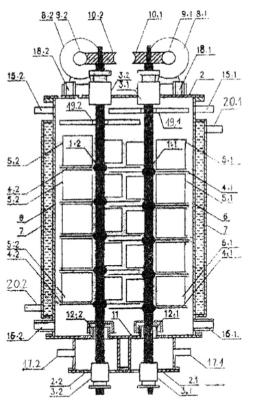
Tổ hợp thiết bị phản ứng dị thể rắn-lỏng-khí hoạt động liên tục
Số bằng: 1-0019826. Ngày cấp: 21/08/2018. Tác giả và chủ bằng: Nguyễn Dần. Địa chỉ: Chung cư Hoàng Anh Gia Lai 1, A10-18, số 357 Lê Văn Lương, quận 7, TP.HCM.
Tóm tắt: tổ hợp thiết bị phản ứng dị thể rắn-lỏng-khí hoạt động liên tục bao gồm: - thân thiết bị (6) cùng với nắp trên (2) và nắp dưới (11) tạo thành ngăn phản ứng, trên thân thiết bị (6) có nhiều tấm cản (5.1-5.n) hình chữ V. Nhiều trục khuấy (1.1-1.n) có bố trí nhiều cánh khuấy phẳng (4.1-4.n) dọc trên chiều dài.
Thân thiết bị, vị trí của các tấm cản và các trục khuấy của tổ hợp thiết bị phản ứng dị thể rắn-lỏng-khí này xác định theo nguyên tắc: vẽ các tam giác đều bằng nhau trên cùng một mặt phẳng, sao cho cứ hai tam giác đều bất kỳ có một cạnh chung. Khi đó, trọng tâm của các tam giác đều nêu trên chính là vị trí để bố trí các trục khuấy (1.1-1.n). Vẽ các cung tròn đi qua các cạnh tam giác (không phải là cạnh chung). Khi đó, các cung tròn này tạo thành biên dạng mặt cắt ngang của thân thiết bị. Các tấm cản (5.1-5.n) hình chữ V nêu trên được gắn dọc theo phương thẳng đứng vào các cung tròn này và kéo dài hướng về phía các trục khuấy (1.1-1.n) tương ứng. Trong đó, nếu n là số lượng trục khuấy của tổ hợp thiết bị phản ứng dị thể rắn lỏng khí hoạt động gián đoạn, thì tổ hợp này có n 2
Thiết bị phát sáng đeo tay và phương pháp điều khiển
Số bằng: 1-0019846. Ngày cấp: 21/08/2018. Tác giả và chủ bằng: Phạm Huỳnh Phong. Địa chỉ: 89 đường số 1, phường Bình Trị Đông B, quận Bình Tân, TP.HCM.
Tóm tắt: thiết bị phát sáng đeo tay dùng để cảnh báo an toàn, cổ vũ, và trình diễn ánh sáng. Người đeo có thể thực hiện các lệnh điều khiển khác nhau khi lắc tay sang phải, trái, lên trên, xuống dưới, ra phía trước hoặc về phía sau.
Người đeo cũng có thể thực hiện tắt/mở, thay đổi màu sắc của nguồn sáng trên thiết bị này bằng chính tay đang đeo một cách độc lập với chuyển động của thiết bị. Ngoài ra, giải pháp này không gây cản trở việc cầm nắm các đồ vật khác khi đang đeo thiết bị.