SpStinet - vwpChiTiet

 

Sáng chế về máy giặt


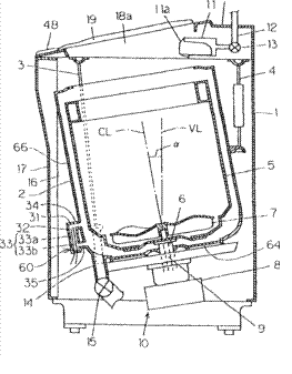
Máy giặt loại lồng quay 

 
Số công bố đơn: 29872; ngày nộp đơn: 22/03/2012 tại Việt Nam; tác giả: Takai Yuji, Iwai Shogo, Nishimura Yoshimi, Nishiwaki Satoru; đơn vị nộp đơn: Kabushiki Kaisha Toshiba; địa chỉ: 1-1, Shibaura 1-chome, Minato-ku, Tokyo, Japan.
 

Máy giặt loại lồng quay

Sáng chế đề cập đến máy giặt loại lồng quay với các bộ phận:
 
 
Lớp vỏ bên ngoài
 
Bồn nước: có dạng hình trụ, đáy kín, được lớp vỏ bên ngoài đỡ bằng một trục đàn hồi. Trục trung tâm của bồn nước nằm nghiêng, kéo dài xuống dưới và về phía sau.
 
Lồng quay: có dạng hình trụ đáy kín, được bố trí trong bồn nước, quay được quanh trục trung tâm của bồn. Trên vách tròn của lồng quay có một số lỗ.
 
Động cơ máy giặt: bố trí ở mặt sau, phía ngoài bồn nước.
 
Vách ngăn: được bố trí ở phần ngoại vi, bên trong lồng quay, kéo dài theo hướng ngược về phía sau dọc trục.
 
Khoảng hở tạo thành đường dẫn nước vào: được tạo ra ở đáy bồn nước. Cửa xả nước thứ nhất và thứ hai nằm ở mặt trước, phía trên bồn nước.
 
Đường dẫn tuần hoàn: nối với đường nước vào và các cửa xả nước. Bên trong đường dẫn tuần hoàn có bơm tuần hoàn.


Máy giặt có cửa nạp nước làm mềm vải

Số công bố đơn: 29380; ngày nộp đơn: 12/10/2011 tại Việt Nam; tác giả: Inada Tsuyoshi, Maeda Satoshi, Tanino Kazumasa; đơn vị nộp đơn: Panasonic Corporation; địa chỉ: 1006, Oaza Kadoma, Kadoma-shi, Osaka 571-8501, Japan.
 
Sáng chế đề cập đến máy giặt bao gồm:
 
Thân chính.
 
Lồng chứa nước: đặt trong thân chính, bên trong có lồng giặt/vắt quay. Ở đáy của lồng giặt/vắt có mâm quay quay được. Phần trên lồng giặt/vắt có bộ cân bằng chất lỏng.
 
Thiết bị tự động phun chất làm mềm vải: được đặt trong bộ cân bằng chất lỏng. Thiết bị này sẽ tự động phun chất làm mềm vải vào lồng chứa nước trong suốt quá trình xả quần áo.
 
Cửa nạp chất làm mềm vải: có nắp che, được bố trí trong bộ cân bằng chất lỏng, thông với thiết bị phun tự động.
 
Cửa nạp nước xả vải và bộ phận phun tự động giúp việc thêm nước xả vào quá trình giặt thuận tiện hơn.
 
 
 
 
Máy giặt có khả năng ngăn rung động bất thường

Số công bố đơn: 27972; ngày nộp đơn: 20/05/2011 tại Việt Nam; tác giả: Tomonari Kawaguchi; đơn vị nộp đơn: Sanyo Electric Co., ltd.; địa chỉ: 5-5 Keihanhondori 2-chome, Moriguchi-shi, Osaka-fu, Japan.
 
Những rung động của máy giặt trong quá trình vận hành thường sinh ra tiếng ồn lớn. Sáng chế đề cập đến máy giặt có khả năng ngăn chặn sự rung động bất thường nhờ làm giảm tốc độ quay của lồng giặt và vắt nước khi thấy nhiệt độ lớp vỏ ngoài bắt đầu cao.
 
Loại máy giặt này vắt nước từ quần áo bằng cách quay nhanh trống giặt và bộ phận vắt ở tốc độ cao, do hiện tượng cộng hưởng nên lớp vỏ ngoài sẽ nóng lên. Bộ phận chống rung được điều khiển bằng điện, thay đổi theo nhiệt độ. Khi nhận thấy nhiệt độ lớp vỏ ngoài cao hơn nhiệt độ tiêu chuẩn, bộ phận chống rung sẽ giảm tốc độ quay xuống 750v/ph đồng thời kéo dài thời gian vắt nước. Nếu nhiệt độ thấp hơn, tốc độ sẽ được gia tăng lên 800v/ph và rút ngắn thời gian quay.
 
Nhiệt độ vỏ ngoài được xác định bằng điện trở nhiệt của bộ gia nhiệt tuần hoàn đặt trong trống giặt. Nhờ bộ gia nhiệt này, sáng chế còn tận dụng lượng không khí nóng sinh ra từ quá trình quay vắt để sấy khô quần áo.
 
 
Máy giặt có cảm biến áp lực

Số bằng sáng chế: 1-0006726; cấp ngày: 04/12/2007 tại Việt Nam; tác giả: Kazushige Kakutani, Shigeki Yoshida, Yuka Yoshida, Hideaki Aoki, Koichi Yoshizaki, Kazuya Hiyamizu, Takao Kuraseko, Keiji Kishimoto; chủ bằng: Sanyo Electric co., ltd; địa chỉ: 5-5, Keihanhondori 2-chome, Moriguchi-shi, Osaka 570-8677, Japan.
 
Sáng chế đề cập đến máy giặt có bộ phận cảm biến áp lực giúp kiểm tra tải trọng thùng giặt và tính lượng nước phù hợp.

Thùng ngoài của máy giặt được treo trên một đòn treo. Tấm giữ đòn (24) giúp giữ đòn treo (13) với thùng giặt (12). Trên tấm giữ đòn có cảm biến áp lực. Cấu tạo cảm biến áp lực (1) gồm: một cuộn dây cuốn quanh một chi tiết từ giảo - có từ tính thay đổi khi bị giãn nở, nén hoặc xoắn bởi ngoại lực. Cuộn dây dùng để kiểm tra sự thay đổi về từ tính của chi tiết từ giảo.
 
Khi có ngoại lực tác động, sự thay đổi từ tính sẽ được biến đổi thành sự thay đổi độ tự cảm của cuộn dây. Từ đó, tần

Máy giặt có cảm biến áp lực
số tín hiệu tương ứng được cảm biến phát ra. Dựa trên tín hiệu của cảm biến áp lực, tải trọng quần áo trong thùng giặt (13) được xác định và tính toán lượng nước phù hợp cho từng công đoạn. Khi mực nước hiển thị đạt mức cần thiết, việc cấp nước dừng lại. Trong sáng chế này, cảm biến áp lực không chỉ kiểm tra tải trọng quần áo mà còn thực hiện cả chức năng kiểm tra khối lượng nước được cung cấp.

Sáng chế này không thích hợp lắm với thiết kế máy giặt có kích thước nhỏ vì cảm biến khối lượng chiếm một không gian đáng kể trong vỏ máy giặt.
 
 
Máy giặt không sử dụng chất tẩy rửa


Máy giặt không sử dụng chất tẩy rửa
Số bằng sáng chế: 1-0006619; cấp ngày: 28/09/2007 tại Việt Nam; tác giả: Shinji Mae, Akira Okuno, Masakazu Matsumoto, Koichi Kuroda, Yasushi Araki, Kiyoshi Sarada, Yoshikazu Banba, Kenji Yoshida; chủ bằng: Sanyo Electric Co., Ltd.; địa chỉ: 5-5, Keihanhondori 2-chome, Moriguchi-shi, Osaka 570-8677 Japan.
 
Sáng chế đề cập đến máy giặt điện thực hiện quy trình giặt quần áo không cần sử dụng chất tẩy rửa.
 
Trong kiểu giặt không sử dụng chất tẩy rửa, cơ cấu điện phân (31) sẽ điện phân lượng chất lỏng chứa trong thùng giặt (2). Cơ cấu điện phân có dạng một bộ xử lý nước (60) được gắn ở phía dưới, bên ngoài thùng giặt (2). Bên trong bộ xử lý là một ngăn điện phân
dạng hộp (32), một cặp điện cực (33), và hai đường dẫn nước (34,35). Hai đường dẫn nước (34,35) giúp nối thùng ngoài với ngăn điện phân (32). Nhờ đó, nước được điện phân một cách hiệu quả để sử dụng trong quá trình giặt.

Cơ cấu bịt kín nổi dùng cho máy giặt tự động tiết kiệm nước

Số bằng sáng chế: 1-0006366; cấp ngày: 28/05/2007 tại Việt Nam; tác giả và chủ bằng: YE,Xiaozhou; địa chỉ: Suite 102, Building NO.10, Weili Sunwen Road, Zhongshan City, Guangdong Province, P.R.China 528403.
 
Máy giặt tự động tiết kiệm nước là loại máy giặt chỉ nạp nước vào thùng trong, trong khi thùng ngoài cạn khi đang giặt. Máy giặt này có thể tiết kiệm từ 20% đến 30% nước so với máy giặt tự động (có cả thùng trong lẫn thùng ngoài đều được nạp nước khi giặt).
 
 
Sáng chế đề cập đến cơ cấu bịt kín nổi dùng cho máy giặt tự động tiết kiệm nước. Cơ cấu này bao gồm: nắp (11) được lắp ở mặt trong của đáy thùng giặt ngoài (1); khay (5) được lắp ở mặt ngoài của đáy thùng giặt trong (2); hốc xả (16) được bao quanh bởi thùng ngoài (1), nắp bịt kín (11) và khay (5). Vòng bịt kín (20) hình khuyên, nổi được, được đặt bên dưới nắp. Khi vòng này nổi lên do nước sẽ bịt kín khoảng hở giữa nắp và khay.
Cơ cấu bịt kín nổi dùng cho máy giặt
tự động tiết kiệm nước

Khi giặt, thùng trong (2) được phun nước vào, nhưng nước trong thùng trong sẽ không chảy ra thùng ngoài (1) nhờ cơ cấu bịt kín nêu trên. Ưu điểm của sáng chế là có thể giảm lượng tiêu thụ nước giữa bề mặt ngoài của thùng trong và bề mặt trong của thùng ngoài, khả năng bịt kín chắc chắn, tuổi thọ cao, dễ chế tạo và lắp đặt, giá thành thấp, đáp ứng yêu cầu của máy giặt tự động tiết kiệm nước.


Cơ cấu tạo dòng nước xoáy dùng cho máy giặt

Số bằng sáng chế: 1-0005214; cấp ngày: 04/10/2005 tại Việt Nam; tác giả: Kazutoshi Adachi, Mitsuhiko Kobayashi, Shigeo Usui, Yuko Mizoguchi; chủ bằng: Matsushita Electric Industrial Co., ltd; địa chỉ: 006, Oaza Kadoma, Kadoma-shi, Osaka, 571-8501, Japan.
 
Sáng chế đề xuất cơ cấu tạo dòng nước xoáy cho máy giặt. Dạng máy giặt đề cập đến trong sáng chế có cơ cấu tạo dòng nước xoáy được lắp ở phần đáy trong của lồng giặt. Nhờ quỹ đạo dòng nước chảy xoáy mà khả năng đảo được tăng cường và nâng cao hiệu quả làm sạch.  

Cơ cấu tạo dòng nước xoáy dùng cho máy giặt

Cơ cấu tạo dòng nước xoáy (1) gồm các bộ phận tạo dao động được lắp thành một khối:
 
Bộ phận tạo dao động bên ngoài (2), trên đó có các cánh bên ngoài (22) có kích thước lớn. Bộ phận tạo dao động ở tâm (4) có dạng bán cầu, đỉnh bán cầu nằm ở trục quay, trên bề mặt bán cầu có các cánh ở tâm (24). Bộ phận dao động ở giữa có các cánh ở giữa (23). Khi bộ phận tạo dao động bên ngoài (2) và bộ phận tạo dao động ở tâm (4) được dẫn động quay nhờ trục quay, thì bộ phận dao động ở giữa (3) được quay theo.
 
Đường kính của bộ phận tạo dao động ở giữa (3) bằng khoảng 1/2 đường kính của bộ phận tạo dao động bên ngoài (2); và đường kính của bộ phận tạo dao động ở tâm (4) bằng khoảng 1/2 đường kính của bộ phận tạo dao động ở giữa (3).
 
Nhờ chuyển động quay, cơ cấu tạo dòng nước xoáy sẽ sinh ra dòng nước đảo kiểu xoáy, khiến cho nước và quần áo được đảo đều trong quy trình giặt và vắt.
 
Trong sáng chế này, cơ cấu tạo dòng nước xoáy hoạt động được nhờ sự chênh lệch về chiều cao và chiều rộng của các gân được tạo ra trên đế. Đế có bề mặt cong, nghiêng xuống dưới từ phần giữa đế, và nghiêng lên về phía ngoài đế. Do đó, các cánh ở giữa nằm thấp hơn đỉnh của các cánh ở tâm và các cánh bên ngoài.
 
Cơ cấu tạo dòng nước xoáy này cho hiệu quả làm sạch cao, đồng thời không làm xoắn hay hư hại đồ giặt.


Minh Nhật (Tổng hợp), STINFO số 5/2013

Các tin khác:

  • 10 mẫu tin
  • 50 mẫu tin
  • 100 mẫu tin
  • Tất cả